Компанія Porsche продовжує патентувати нестандартні технічні рішення, які можуть стати в нагоді їй у майбутньому: днями в електронній базі WIPO з’явилась заявка на незалежну підвіску коліс автомобіля, в якій як пружний елемент використовується композитна ресора.
Ресорна підвіска на легкових автомобілях сьогодні вважається анахронізмом або екзотикою, але її компактність, як і раніше, приваблює конструкторів. Поперечна композитна ресора зустрічається в ряді сучасних моделей Volvo і використовувалася на Chevrolet Corvette.

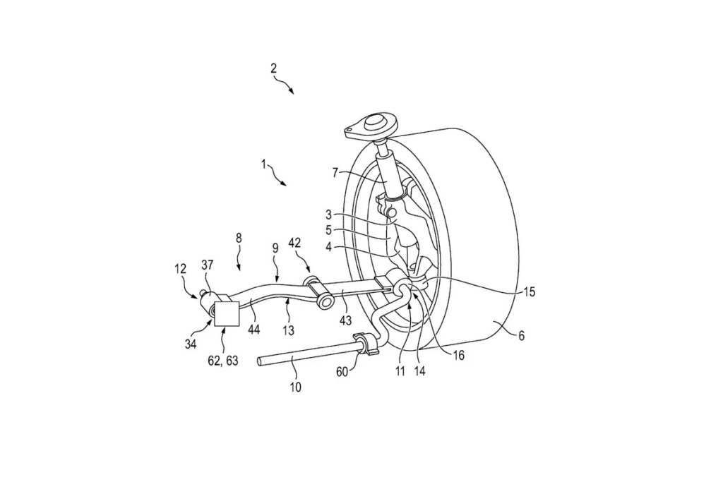
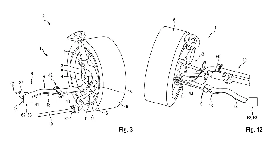
Перспективну ресорну підвіску для Porsche розробив інженер на ім’я Фрік Ондрей, на схемах представлені кілька варіантів її виконання, але загалом її можна вважати варіацією на тему підвіски McPherson.
Важіль-ресора може мати проміжну ланку між основними вузлами кріплення, вона потрібна для регулювання жорсткості ресори і може бути забезпечена електричним або гідравлічним актуатором. Кріплення ресори з боку кузова може мати регулювання висоти з електричним або гідравлічним актуатором.

Конструкція підвіски підходить як для задніх, так і передніх коліс, тобто може бути забезпечена рульовим механізмом, причому розробник стверджує, що відмова від пружин дозволить істотно скоротити радіус розвороту автомобіля. Одні з варіантів конструкції передбачає наявність другої дугоподібної ресори, що йде вгору і кріпиться у верхній частині до кузова або підрамника.

Компактність підвіски дозволяє теоретично зробити капот автомобіля нижче і поліпшити безпеку пішоходів при зіткненні, при цьому вона зберігає можливість регулювання висоту і жорсткість. Також нова ресора підвіска добре сумісна з мотор-колесами електромобілів.
Нагадаємо, як раніше повідомляв AUTOGEEK, класичний Porsche 911 перетворили на електромобіль.


